混合耦合器(hybrid coupler)是一种四端口器件,其作用是将从任一端口馈入的功率,均等地分配到其他的两个端口,而不将功率传送到第四个端口。

定义:
当需要的输出比能由单只器件或一对器件得出的还要大的时候,可以用“混合耦合器”电路来合成两个或多个功率放大器。几只器件直接并联运用不能令人满意,因为电流并不是均等地在这些器件中分配的。
然而,混合耦合器并不能解决功放可能会遇到的所有问题。例如,假使负载短路或开路,这种效应就反射到每个功放的集电极。负载的电抗和变动同样也会变换到功放去。
工作原理:

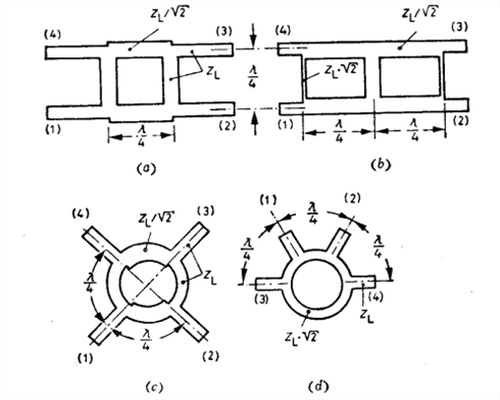
如图所示,是四种类型的混合耦合器:
(a)为四边形混合耦合器;
(b)为H型带状线耦合器;
(c)为环形混合耦合器;
(d)为环形带状线耦合器。

其工作原理类似于定向耦合器。混合型耦合器把馈入的功率分为两部分,其作用犹如定向的功率分配器。在端口(1)馈入的功率将传输到端口(2)和(3)。
通常,力求使耦合器做得能将功率分成两等分。端口(4)是去耦的,在那儿电压分量相互抵消,在该输出端无功率。对于四边形和环形混合耦合器以及H形带状线耦合器,端口(2)和(3)的相位差为 ,而3分贝环形带状线耦合器两个端口间的相位差为 。
假设从端口(1)馈入功率,端口(2)、(3)和(4)则接有无反射的特性阻抗。
(以上内容整理自网络,如有侵权请联系删除!)
各类品牌耦合器器北京永阳微波商城在线有售!